倾耳
刚刚过去的7月份,有4家国内企业仿制的磷酸西格列汀片获得NMPA批准上市,视同过一致性评价,开启了磷酸西格列汀的疯狂之路。
磷酸西格列汀(Sitagliptin)原研厂家默沙东公司(Merck Sharp & Dohme),是降血糖药,用于改善2型糖尿病患者的血糖控制,是全球第一个上市的口服二肽基肽酶4(DPP-4)抑制剂。最早于2006年10月获美国FDA批准生产,在美国获批上市(商品名为Januvia)。该药在2012年达到年销售额峰值40.86亿美元,近年来西格列汀的全球销售额均稳定在30-40亿美元左右。 2009年,磷酸西格列汀片获NMPA批落地中国,商品名为捷诺维。2017年进入国家医保(乙类),借力医保快速放量,次年磷酸西格列汀片的全国医院销售额便暴涨112%,2020年突破10亿元。2021年增速同样迅猛,院内销售额超15亿,同比增长17.57%。2022年城市公立医院、县级公立医院、城市社区中心及乡镇卫生院终端磷酸西格列汀片销售额稳步攀升,2022年已接近20亿元大关,同比增长5.57%,是口服糖尿病用药TOP4产品!虽然专利未到期,但国内市场竞争已是白热化,国内已有20家拿到了磷酸西格列汀仿制药批准文号,视同过一致性评价,另有近20家在审评审批中,默沙东独家市场受到的“威胁”越来越大。 默沙东于2002年7月5日通过国际申请(国际公布号为WO03004498A1)获得授权专利(专利号为02813558.X)保护了通式化合物和西格列汀具体结构(权利要求15),于2004年6月18日再次通过国际申请(国际公布号为WO2005003135A1)获得授权专利(专利号为200480017544.3)保护了西格列汀二氢磷酸盐(磷酸西格列汀)。宋晓莉于2018年05月17日和石药集团欧意药业有限公司于2020年07月06日分别对200480017544.35向国家知识产权局复审会员会提出无效请求。经审理国家知识产权局分别于2018年11月23日和2021年02月08日作出了第37963,48334号无效宣告请求决定(专利权部分无效),但保护磷酸西格列汀权利要求维持有效。西格列汀磷酸盐一水合物结晶的专利ZL200480017544.3的专利到期日2024年06月18日!
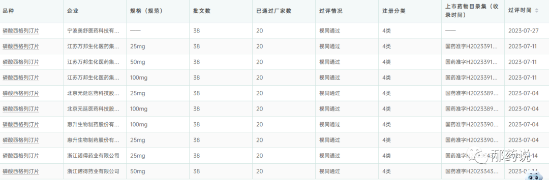
磷酸西格列汀片有20家企业拥有生产批文,视同通过一致性评价,扬子江,广东东阳光,正大天晴、浙江医药,四川科伦、齐鲁制药,通化东宝,辰欣药业,浙江九洲,乐普制药,甘李药业,浙江华海药业,Dr.Reddy's Laboratories,浙江诺得药业,惠升生物制药,北京元延,江苏万邦生化,宁波美舒医药等20家国内药企均已过评。 山东新时代药业、北京福元医药、江苏德源药业、重庆圣华曦药业,江西施美药业,浙江昂利康、四川制药制剂、浙江永太药业、常州制药厂、湖南普道医药、苏州天马医药、湖北省宏源等近20家药企以新4类报产在审! 查询磷酸西格列汀CDE备案的厂家,有31家国产原料药备案。其中有24家已经获批“A”。









关于磷酸西格列汀的制备路线详见下图:该工艺已经很成熟,完成每批300公斤的API的生产,单杂小于0.1%,异构体杂质小于0.5%,其他项应满足欧洲药典10.0,美国药典USP-2021和日本药典JP18。采用还原酶进行不对称还原,可以实现绿色环保,经济价值也高。目前原料药价格1500-1700元/公斤。物料成本在700元/公斤左右。
磷酸西格列汀的质量标准如下:(其他项目应满足欧洲药典10.0,美国药典USP-2021和日本药典JP18)

四、磷酸西格列汀杂质研究
异构体杂质不得过0.5%

其余工艺杂质和降解杂质不得过0.1%,欧洲药典给出的杂质B和杂质C可以通过控制SM1,2,4,5-三氟苯乙酸的质量来实现控制。 需要重点指出的是,根据工艺和车间的生产要求,需要重点关注Nitroso-STG,属于基因警示结构。
